Đĩa có thể in
Khu vực in của đĩa có thể in là từ 17 mm (0,67 in.) của đường kính trong đến 1 mm (0,04 in.) từ đường kính ngoài của bề mặt in.

Khu vực có thể in
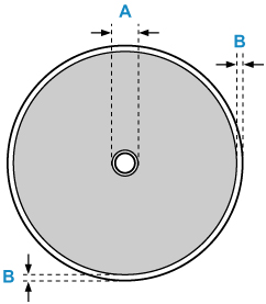
- A: 17,0 mm (0,67 in.)
- B: 1,0 mm (0,04 in.)
S114
Khu vực in của đĩa có thể in là từ 17 mm (0,67 in.) của đường kính trong đến 1 mm (0,04 in.) từ đường kính ngoài của bề mặt in.

Khu vực có thể in